溫州弘凌泵閥有限公司
客服1:0577-67987292
客服2:0577-67987270
傳真:0577-67987252
手機:13355776372
地址:浙江省永嘉縣甌北鎮浦西工業區

CQB型磁力泵
產品概述
CQB磁力驅動離心泵(簡稱磁力泵),通常由電動機,磁力偶合器和耐腐蝕離心泵組成。其主要特點是利用磁力偶合器傳遞動力,完全無泄漏,當電動機帶動磁力偶合器的外磁鋼旋轉時,磁力線穿過問隙和隔離套,作用于內磁鋼上,使泵轉子與電動機同步旋轉,無機械接觸地傳遞扭矩。在泵軸的動力輸入端,由于液體被封閉在靜止的隔離套內,沒有動密封因而完全無泄漏。CQB系列磁力泵是磁力泵全國聯合設計組開發的新型完全無泄漏耐腐蝕泵,其技術經濟指標與國外同類產品八十年代末的水平相當。CQB系列磁力泵型式及基本參數符合JB/T 7742—1995《小型磁力驅動離心泵型式與基本參數》標準和《小型磁力驅動離心泵三個標準的補充規定》。
型號意義
產品用途
CQB系列磁力泵適用于石油、化工、制藥、冶煉、電鍍、環保、食品、影視洗印、水處理、國防等行業,是輸送易燃、易爆、揮發、有毒、稀有貴重液體和各種腐蝕性液體的理想設備。適用于輸送吸入壓力不大于0.2MPa,大工作壓力1.6MPa,溫度不超過100℃,密度不大于1600kg/m3,粘度不大于30×10-6m2/S的不含硬顆粒和纖維的液體。
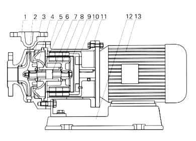
結構圖
性能參數
型 號 |
口徑(mm) |
流量(m3/h) |
揚程 (m) |
電機功率(kW) |
電壓 (V) |
材質 |
|
進口 |
出口 |
||||||
CQB32-20-125 |
32 |
20 |
3.2 |
20 |
1.1 |
380 |
不 |
CQB32-20-160 |
32 |
20 |
3.2 |
32 |
1.5 |
380 |
|
CQB40-25-125 |
40 |
25 |
6.3 |
20 |
2.2 |
380 |
|
CQB40-25-160 |
40 |
25 |
6.3 |
32 |
3 |
380 |
|
CQB40-25-200 |
40 |
25 |
6.3 |
50 |
5.5 |
380 |
|
CQB50-32-125 |
50 |
32 |
12.5 |
20 |
3 |
380 |
|
CQB50-32-160 |
50 |
32 |
12.5 |
32 |
4 |
380 |
|
CQB50-32-200 |
50 |
32 |
12.5 |
50 |
7.5 |
380 |
|
CQB50-32-250 |
50 |
32 |
12.5 |
80 |
18.5 |
380 |
|
CQB65-50-125 |
65 |
50 |
25 |
20 |
4 |
380 |
|
CQB65-50-160 |
65 |
50 |
25 |
32 |
7.5 |
380 |
|
CQB65-40-200 |
65 |
40 |
25 |
50 |
15 |
380 |
|
CQB65-40-250 |
65 |
40 |
25 |
80 |
18.5 |
380 |
|
CQB80-65-125 |
80 |
65 |
50 |
20 |
7.5 |
380 |
|
CQB80-65-160 |
80 |
65 |
50 |
32 |
15 |
380 |
|
CQB80-50-200 |
80 |
50 |
50 |
50 |
18.5 |
380 |
|
CQB80-50-250 |
80 |
50 |
50 |
80 |
37 |
380 |
|
CQB100-80-125 |
100 |
80 |
100 |
20 |
15 |
380 |
|
CQB100-80-160 |
100 |
80 |
100 |
32 |
18.5 |
380 |
|
CQB100-65-200 |
100 |
65 |
100 |
50 |
37 |
380 |
|
CQB100-65-250 |
100 |
65 |
100 |
80 |
55 |
380 |
|
注:每個型號都可配防爆電機 |
安裝和調試
一)磁力泵應水平安裝,不宜豎立,塑料泵體不得承受管路重量,對于特殊要求垂直安裝的場合,電機務必朝上。
二)當抽吸液面高于泵軸心線時,起動前打幵吸入管道閥門即可,若抽吸液面低于泵軸心線時, 管道需配爸底閥。
三)泵使用前應進行檢查,電機風葉轉動要靈活,無卡莊及異常聲晌,各緊固件要緊固。
四)檢查電機旋轉方向是否與磁力泵轉向標記一致。
五)電機苣動后,緩慢打幵排出閥,待泵進入正常工作狀態后,再將排出閥調到所需幵度。
(六)泵停止工作前,應先關團排出閥門,然后切斷電源。
注意事項
一)因磁力泵軸承的冷卻和通滑是靠被轍送的介質,所以絕對禁止空運轉,同時避免在工作中途停電后再層動時所造成時空載運轉。
二)被輸送介質中,若含有固體顆粒,泵入口要加過濾網:如含有鐵磁質微粒,需加磁性過濾器。
三)泵在使用中環境溫度應小于40℃,電機溫升不得超過75℃。
四)被輸送的介質及其溫度應在泵材允許范圍內(洋見附表卜工程塑料泵的使用溫度〈60℃,金屬泵的使用溫度〈100℃,轍送吸入壓力不大于0.2MPa,大工作壓力1.6MPa,密度不大于1600Kg/m㎡,粘度不大于30x10-6㎡/S的不含硬顆粒和纖維的液體。
五)對于輸送液為易沉淀結晶的介質,使用后應及時清洗,排淨泵內積液。
六)磁力泵正常運行1000小時后,應拆檢軸承和端面動環的磨損情況,并更換不宜再用的易損件。
八、故障與排除方法
故障形式 |
產 生原因 |
排除方法 |
泵不出水 |
1.水泵反轉 2.進水管道漏氣 3.泵腔蓄水不足 4.電壓太高,苣動時聯軸器打滑 5.吸程太高 6.閥門沒有打幵 |
1.改變電譏接線 2.社絕漏氣 3.增加蓄水璗 4.調正電壓 5.降低泵安裝位置 6.校正或更換閥門 |
流量不足 |
1.吸入管徑太小或淤塞 2.葉輪流道阻塞 3.揚程過高 4.轉速不夠 |
1.調換或清洗逬水官 2.清洗葉輪 3.幵大出水閥 4.恢復額定轉速 |
揚程過低 |
1.流量過大 2.轉速太低 |
1.關小出水閥 2.恢復額定轉速 |
噪音太大 |
1.軸嚴重磨損 2.軸承嚴重磨損 3.外磁鋼或內磁鋼與隔離套接觸 4.密封環與葉輪研磨 |
1.更換泵軸 2.更換軸承 3.拆除泵頭重新組裝 4.更換止推環、密封環 |
漏 液 |
〇型密封圈損壞 |
更換〇型密封圈 |